One of the leading manufacturer in China for the accessory of measuring instrument.

F0301001

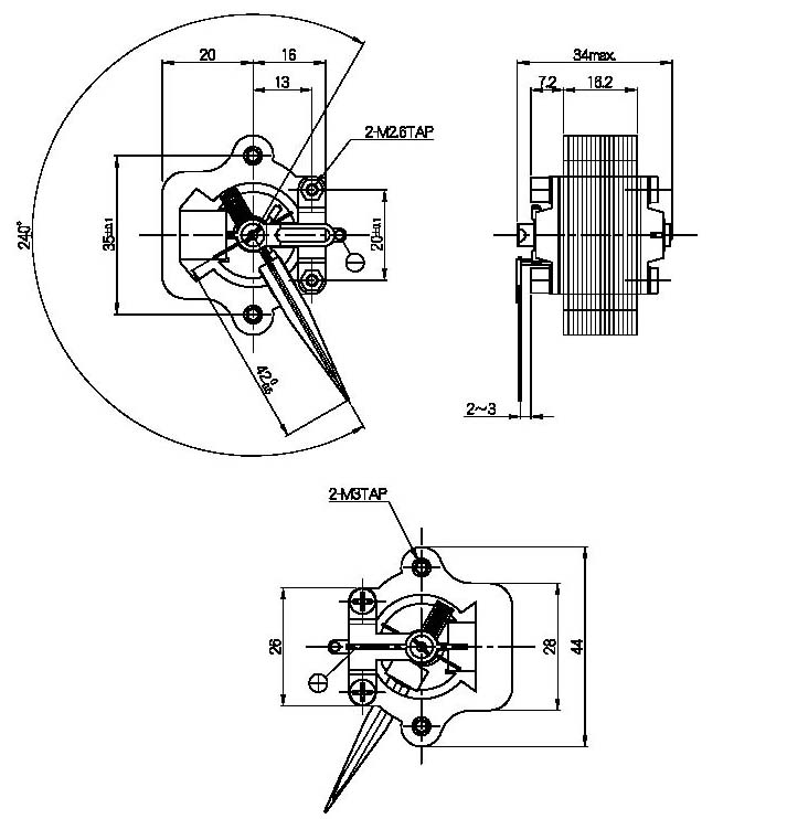
Product NO.:

F0301001

ModelNO.:

K250 movement

Description